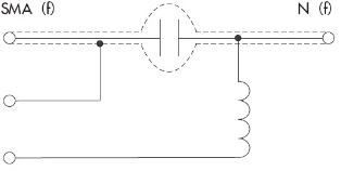
Bias Tee for large current,with maximum supply DC current of 15A~40A.
		

When using a vector network analyzer, conduct calibrations of Open, Short and Load instead of DUT. Then, when two bias - tees are directly connected, S11 and S21 are as follows:
  • S11: ‒30 dB or less (100 kHz to 6 GHz / 15 A, 100 kHz to 1 GHz / 30 A)
  • S21: 1 dB or less (100 kHz to 6 GHz / 15 A, 100 kHz to 1 GHz / 30 A)
Damage avoidance in the case of connecting to a network analyzer. Insulation between RF input and RF output should be surely confirmed before the maximum DC power supply current flows.